Datasheet za STK025 [reseno]

Hobi i ostala elektronika

Urednik: alexa_pg

Pravila foruma
Praktikujemo da na kraju opišemo kako smo rešili problem. Zatim zatvorimo temu >UPUTSTVO<
Avatar
Vucko_AR
___
___
Postovi: 217
Pridružen: 11 Feb 2009, 22:03
Location: Niš
Specialty: automotive

Datasheet za STK025 [reseno]

Post napisao Vucko_AR » 04 Jul 2010, 01:02

Dakle potreban mi je datasheet za ovo kolo,ili bar osnovne informacije,max V,max W,THD...
Nigde na netu nisam uspeo da pronadjem nista korisno,kada ukucam na alldatasheet.com STK025,izbacuje mi neki mosfet STK0250,a situacija nije nista bolja na ostalim sajtovima. :?

pozdrav

Avatar
toce
gx
gx
Postovi: 2292
Pridružen: 25 Apr 2007, 22:41
Location: Makedonija

Re: Datasheet za STK025

Post napisao toce » 04 Jul 2010, 01:28

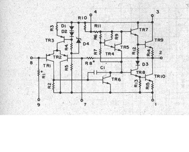
Jel ovo dovoljno :fanzo:
Prilog
STK025.jpg
STK025.jpg (22.17 KiB) Pregledano 1707 puta.
TOCE

Avatar
Vucko_AR
___
___
Postovi: 217
Pridružen: 11 Feb 2009, 22:03
Location: Niš
Specialty: automotive

Re: Datasheet za STK025

Post napisao Vucko_AR » 04 Jul 2010, 09:18

Dovoljno,hvala toce!
:pivopije:

Joca
___
___
Postovi: 410
Pridružen: 09 Okt 2006, 14:39
Location: Bezdan
Contact person: Jovica
Specialty: tv
Lokacija: Bezdan
Kontakt:

Re: Datasheet za STK025

Post napisao Joca » 05 Jul 2010, 02:51

Mozda ti i ovo pomogne.

STK022: =STK 036: ±27V, >15W(±19V/8ohm)
STK025: =STK 036: ±30V, >20W(±22V/8ohm)
STK032: =STK 036: ±32V, >25W(±24V/8ohm)
Prilog
STK036.jpg

Avatar
Vucko_AR
___
___
Postovi: 217
Pridružen: 11 Feb 2009, 22:03
Location: Niš
Specialty: automotive

Re: Datasheet za STK025

Post napisao Vucko_AR » 05 Jul 2010, 20:19

Sto vise,to bolje! Hvala... :lala:
Inace za koji dan cu napraviti pojacalo sa tim kolom,i kad zasvira pisem utiske. Za pocetak samo jedan kanal,pa ako vredi nesto,onda jos jedan...

pozdrav

Avatar
Kobac
bela tehnika
bela tehnika
Postovi: 650
Pridružen: 26 Jun 2008, 23:19
Location: Beograd

Re: Datasheet za STK025

Post napisao Kobac » 06 Jul 2010, 10:13

Imas il nekog krsa ili kupujes? STK su poskupi za kupovinu i nove projekte.

Avatar
Vucko_AR
___
___
Postovi: 217
Pridružen: 11 Feb 2009, 22:03
Location: Niš
Specialty: automotive

Re: Datasheet za STK025

Post napisao Vucko_AR » 07 Jul 2010, 23:24

Nabavio sam novo ali po dosta manjoj ceni od maloprodajne. A u M&G je oko 1000din... :roll:

Avatar
stojkePN
___
___
Postovi: 1594
Pridružen: 11 Feb 2007, 04:55
Location: Srbija-Paraćin

Re: Datasheet za STK025

Post napisao stojkePN » 08 Jul 2010, 01:09

Da pogadjam. Cena je bila 300din :lala:
Sto vise ucim sve vise vidim koliko neznam :plaz:

Avatar
Vucko_AR
___
___
Postovi: 217
Pridružen: 11 Feb 2009, 22:03
Location: Niš
Specialty: automotive

Re: Datasheet za STK025

Post napisao Vucko_AR » 08 Jul 2010, 01:59

Yep :mrgreen: ...

Odgovori
  • Slične teme
    Odgovori
    Pregledano
    Zadnji post

Natrag na “Elektronika”